全国服务热线:
+86-18357701429

24

小时全国服务热线
HURS SERVICE HOTLINE

公司地址:浙江省温州市洞头区灵昆文博科技产业园35幢二单元

销售部:18357701429 13736372572

销售QQ:13297900981

电子邮件:chthc123@163.com

服务热线 :+86-18357701429

当前位置:首页 > 产品中心 > 光伏连接器
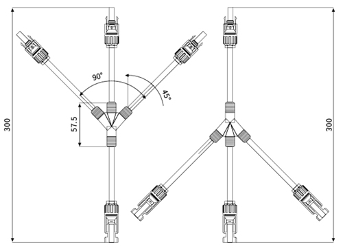
分支连接器 PV-THC-Y1/3

额定电流:30A
额定电压:1000 VDC(IEC)800DC(UL)
环境温度范围:-40°℃~+90°℃(ec)
防护级别:P67防护等级IP2X防护等级
插头连接器的接触电阻:0.5mQ
接触材料:紫铜,镀锡
锁定系统的连接方式:嵌入式(nur/onlyMC4)
阻燃等级:U儿94-HB/UL94-VO
电缆尺寸:2.5mm²、4mm²、6mm²
二极管/熔丝型:肖特基二极管/光伏熔丝

分享到:
立即咨询 相关文章

额定电流:30A

额定电压:1000 VDC(IEC)800DC(UL)

环境温度范围:-40°℃~+90°℃(ec)

防护级别:P67防护等级IP2X防护等级

插头连接器的接触电阻:0.5mQ

接触材料:紫铜,镀锡

锁定系统的连接方式:嵌入式(nur/onlyMC4)

阻燃等级:U儿94-HB/UL94-VO

电缆尺寸:2.5mm²、4mm²、6mm²

二极管/熔丝型:肖特基二极管/光伏熔丝


0.jpg